Jump to content
HybridZ

Broken emergency rod


PLATA

Recommended Posts

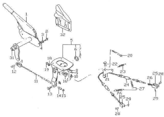
My 72 has a broken rod, I will like to have the real one ( to avoid the hassle in duplicating one ) its the rod that connects from the cabin handle to the rear brake cable  post-36683-0-52893200-1360853273_thumb.jpg # 11 on the chart, please dig in your pile and sell it to me  :icon12:

Link to comment
Share on other sites

Join the conversation

You can post now and register later. If you have an account, sign in now to post with your account.

Guest
Reply to this topic...

×   Pasted as rich text.   Paste as plain text instead

  Only 75 emoji are allowed.

×   Your link has been automatically embedded.   Display as a link instead

×   Your previous content has been restored.   Clear editor

×   You cannot paste images directly. Upload or insert images from URL.

×
×
  • Create New...