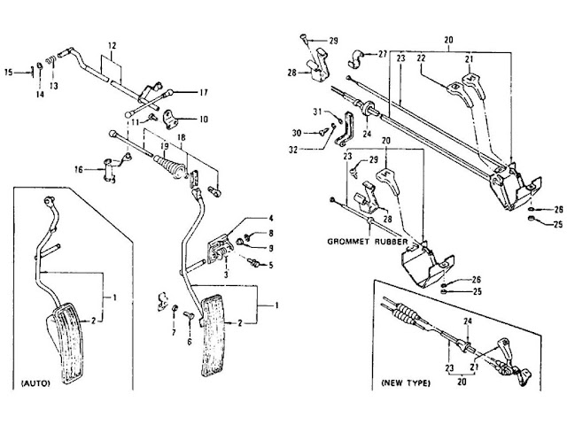
seattlejester Posted October 8, 2012 Share Posted October 8, 2012 Hey folks, I'm hoping someone has one of these brackets laying around. I'm in need of the bracket that mounts to the firewall that holds the throttle rod that connects to the carbs. Part number 10 in the following image Any help would be appreciated! Quote Link to comment Share on other sites More sharing options...
260zShooter Posted October 10, 2012 Share Posted October 10, 2012 I have it. Its been cleaned and replated too. $12 plus S&H. Quote Link to comment Share on other sites More sharing options...
Recommended Posts
Join the conversation
You can post now and register later. If you have an account, sign in now to post with your account.