Dkyle Posted April 9, 2015 Share Posted April 9, 2015 I have '77 280Z that was running OK until Head Gasket blew. I then removed engine and the EFI harness & installed new engine with SU carbs.I kept the fuel pump & installed a Holley FPR.With the the EFI harness removed (inc. the power connections to the relays removed) I tried to start the engine and it does not turn over. It just clicks at some relay under the passenger side dash.Starter works ok; i jumped the connection to solenoid with screwdriver with the key in "on" and it turns over ok, but no spark, and fuel pump NOT working.I connected the power leads of the EFI harness back up to the relays & connector under the driver side dash; the fusible links are good; still won't turn over, just clicks at some relay under the passenger side dash.What am I missing? Here is a picture showing the 3 connectors i hooked back up, A,B & C Quote Link to comment Share on other sites More sharing options...
Dkyle Posted April 9, 2015 Author Share Posted April 9, 2015 it appears i do not know how to upload, or attach pictures.. either. Quote Link to comment Share on other sites More sharing options...
seattlejester Posted April 9, 2015 Share Posted April 9, 2015 You really shouldn't be using an EFI pump with a carb'd setup SU's take 2-4 psi if I remember correctly. If you remove power from the relay then the relay won't trigger, then the car won't start. You need to wire up the coil and fuel to get power when the ignition is on. If you just pulled the wiring, then it is pretty silly to expect the car to start. You need to wire the relay so that the starter, fuel pump, and ignition all get power in the ignition and the start. Pull up the wiring diagram and take a look. Your description is not sufficient to go off of. If you just want the car to start to see if it will, wire up the fuel pump and the coil to constant on and pulse the starter with the screw driver until the car starts. Although I think with your current fuel pump you are either going to flood your carbs or burn out the pump unless it is a bypass style FPR Quote Link to comment Share on other sites More sharing options...
Dkyle Posted April 10, 2015 Author Share Posted April 10, 2015 i have reconnected the power to the white connector, plugged the other 2 connectors, all under the driver side dash. that was part of the efi harness i initially removed. That appears to be the EFI Relay; though elsewhere in documentation i see it is 2 relays, inc. a fuel pump relay. i connected the other white connector that connects to the coil, fuel pump, ignition relay, fusible links, etc. Lots of green wires there. it still behaves the same.. one click in a relay under passenger side dash. ignition relay? It's confusing (not the least because of my ignorance on the whole subect of wiring a car) to read ".. remove the EFI harness entirely, don't need it", & yet that wiring that comes directly off the battery to the relays seems necessary & all wrapped up in the EFI harness. BTW.. i will look into another setup for a fuel pump. i did run the pump seperately to fill the carbs.. successfully. The carbs get fed from The FPR on a 3.5 psi back pressure side. installing a low pressure pump is another wiring job i'm not famaliar with. Quote Link to comment Share on other sites More sharing options...
seattlejester Posted April 10, 2015 Share Posted April 10, 2015 Yes please look for a new pump. If I read your statement correctly, you have the regulator in line to the carbs? If so you are killing your pump, I expect the fuel pump wire to be quite warm. It is true, by adding the carbs you don't "need" the EFI harness as in the injector portion as you now have a metered fuel system. However you still need to make you get fuel to the carbs and power to the coil or else you won't have a running car. Wiring isn't that bad, especially on a car. If you have a decent multimeter (even the digital one from harbor freight is good enough) you can map out where the wires go and what they do. Just unplugging things or plugging them in without knowing what they do is not the best idea. Take your time see what wires the early Z with carbs uses and what wires your car is wired with and subtract all the wires you don't need. The remaining ones are the ones you need. There will be differences in that you don't need the 6 volt resistor and that you have electronic ignition most likely. Quote Link to comment Share on other sites More sharing options...
NewZed Posted April 10, 2015 Share Posted April 10, 2015 I connected the power leads of the EFI harness back up to the relays & connector under the driver side dash; the fusible links are good; still won't turn over, just clicks at some relay under the passenger side dash. What am I missing? You might be getting distracted by the removal of the harness with something that happened along the way. The EFI harness may not be the issue. Wiring diagrams look hard, but they're not really. The FSM has many small diagrams, in addition to the big one. Check the Body Electrical chapter and see how the starter solenoid gets its power. Then look at the places where the break in the circuit might be. Quote Link to comment Share on other sites More sharing options...
NewZed Posted April 10, 2015 Share Posted April 10, 2015 (edited) Is this automatic or manual transmission? Automatics have other switches involved. Forgot to say, the starter circuit is one of the few that doesn't have its own diagram. You have to look at the big one. Edited April 10, 2015 by NewZed Quote Link to comment Share on other sites More sharing options...
Dkyle Posted April 10, 2015 Author Share Posted April 10, 2015 looking at the '77 wiring diagram i find at http://atlanticz.ca/zclub/techtips/electrical.htm.. I need to restore the power to the EFI relay (&/or fuel pump relay?) and the connector that connects to coil via ballast resistor, ignition relay, the fuel pump, & starter. I still have the problem; looking at bypassing the ignition switch now. Any suggestions? seems a will need a couple of toggle switchs in series, then a momentary switch across the connections to the starter and the center of the ballast resistor. A toggle switch across 14 and 16, then that connected to toggle switch across to 10. Then a momentary switch across 18 & 16 (damn! I still can't paste, or attach a pic in a post) Quote Link to comment Share on other sites More sharing options...
NewZed Posted April 10, 2015 Share Posted April 10, 2015 If you have a manual transmission, I think that the power to the solenoid is a straight shot through the ignition switch and down to the yellow wire at the solenoid. That's why I asked. Either way though, manual or auto, you can check power at the ignition switch first. Easy to do, just take off the plastic panel, find the wire that heads off to the solenoid or the safety switches (probably a neutral lockout on the automatic), poke a probe in there and see what happens when you turn the key. You can also measure power to the switch. Then you'll have a better idea of what to fix. All you've described so far is "turn key, hear click, no engine turn over". Don't make it complicated, yet, do some testing first. On a full size computer, you would click on More Reply Options (a new window opens), then Choose File, then Attach This File. You can't cut and paste in the reply box. Quote Link to comment Share on other sites More sharing options...
Dkyle Posted April 11, 2015 Author Share Posted April 11, 2015 This iPad allows me to attach a file. The PC at work was giving errors.. I should start again.. I removed the EFI harness (attached pic). When I tried to start the car, it would just make "click" sound coming from under the passenger side dash. I'm assuming that is the ignition relay. I then installed the harness, connecting the 2 leads to the battery (the line going down & off the picture) and the 3 connectors at top of picture; black & white ones going to the relay under the driver side dash and the other white one that seems to connect to the coil, ignition relay, starter, etc. It seems that i will have to extract that set of wires from the EFI harness. But.. It still behaves the same when I try to start it.. just a click coming from under passenger side dash. I pulled the plug from the ignition switch and connected across terminals 14, 18, 16, & 15 & the starter moved, gave a " kick". My shaky handheld jumper wires allowed only that, did not pursue it any further. That is why I am now considering a circuit to bypass the switch altogether. I don't trust the switch. I did have a problem moving the key off the "Lock" position. And the key seems quite loose inside the cylinder; seems like it could just fall out while in the "On" position. I may be able to hook up a meter up to the coil & starter to read it while turning the key before I proceed. I was also asking, in the beginning, what others have done when replacing the EFI with SU carbs. I have only read that you remove the EFI harness entirely, but it appears that the EFI harness is just part of a bigger harness. And there seems to be hardwired connections between the 2. It's not intuitive, or straightforward how one separates the 2. Quote Link to comment Share on other sites More sharing options...
NewZed Posted April 11, 2015 Share Posted April 11, 2015 You said the car was running okay before. Why would any of the stuff you've done affect the ignition switch? Manual or automatic? Quote Link to comment Share on other sites More sharing options...
Dkyle Posted April 11, 2015 Author Share Posted April 11, 2015 I did nothing to affect the switch. Just know that I got a "kick" from the starter bypassing it. Manual transmission. I do have +5 volts at the positive lead to the coil with the key in the "on" position. With the coil hooked up it measures +5 volts at both coil terminals. Did i miss a grounding terminal somewhere when replacing the engine? There is a short black heavy wire that is in the bundle that connects to ballast resistor; it is open ended, only about a foot in length. I assumed that it was grounding a component on the EFI. Still looking for an answer on whether the pictured EFI harness can be removed completely, or whether I need that part of the circuit that goes from the battery to the relays & connector under driver side dash. I get the +5 volts at the coil (key at "on") with that circuit both connected & disconnected. Quote Link to comment Share on other sites More sharing options...
NewZed Posted April 11, 2015 Share Posted April 11, 2015 Follow the path of the current. That was my point about measuring voltage in to the ignition switch. 5 volts at the coil with the key On isn't right. What is battery voltage? Could be that you killed the battery and you've been looking at the wrong things. Develop a problem-solving method. Your actions are random. Understand what's supposed to happen, starting with power from the battery, then test to see if those things are happening or not, step-by-step, toward the starter solenoid. Good luck, Quote Link to comment Share on other sites More sharing options...
Dkyle Posted April 12, 2015 Author Share Posted April 12, 2015 I don't know why I stated "5 volts", must've had Arduino on my mind. It's 12 volts at the postive lead of the coil with it disconnected, 0 volts on the negative lead. With the terminals attached, both measure 12 volts. No voltage to solenoid. My biggest fault is that I don't know what is suppose to happen, other than turn over and start when key is turned. I find it physically difficult to measure at the switch. I did bypass the switch & was able to get it turn over, it backfires a bit.. but not a lot. Gas appears to be getting into the cylinders. I am going to get a new switch. I had the EFI harness removed completely & found that the fuel pump was NOT running when cranking. When i installed the harness, battery connection, & the relays, & the white connector with all but one green wires, the fuel pump was pumping while cranking. Another issue I need to understand. I'm now concerned if the timing is way off. It seems way too advanced. I show that the gear is in the right position at TDC. But it seems the rotor is too far forward. The line on the green tape is the center of #1 plug wire. This may explain the backfiring? Is it firing too soon? Don't how I could adjust any further than it is. So, there it is.. multiple problems.. & still lack understanding of how that relay circuit of the EFI harness plays. Quote Link to comment Share on other sites More sharing options...
Dkyle Posted April 13, 2015 Author Share Posted April 13, 2015 Update: I have the oil/dist. spindle 180 deg. off. I thought I was careful about that notch, i must have missed it when i pulled it to prime the pump. So now my #1 plug wire is 180 deg. off from everybody else. The car started right up with my set of toggle switch/buttons I have to use in lieu of an ignition switch. Fuel pump does not run; with or without the EFI harness. The harness is removed completely, & the fuel pump is running directly off the battery. I have a guage on the line to the carbs; it does maintain 4psi. Back carb is sucking more air than the front one.. another issue to work one. I'll get a new ignition switch. I would like to know how others maintain the stock pump & use a regulator.. what circuit do they use? While I'm at it.. Does anybody have a schematic they use to bypass the ignition switch? Quote Link to comment Share on other sites More sharing options...
seattlejester Posted April 13, 2015 Share Posted April 13, 2015 (edited) Well glad you got it started. Timing would be the next thing to check, but from your post it seemed like you were potentially not getting spark or fuel. Most people run low pressure high volume pumps for carbs. Right now you have a mid volume high pressure pump. Regulating it down will get you the fuel pressure you need, but the pump and it's impeller aren't designed to be pushing all the fuel that rapidly (if you have the correct style of regulator it will bypass all the fuel back into the tank) so in essence your pump will be running at full speed all the time. This of course depends on the location of your regulator. Have a syncrometer? That shouldn't be too bad to adjust. I think I have mine sitting around still. I really am not sure removing the ignition switch is the right idea, but if that is how you are going to run it, the wiring diagram is in the atlanticz link you posted. Basically you have the on/off switch connect all the circuits (fuel/ignition) and the momentary just powers the starter. Edit: My little foray into the starter button realm this is of course for a 240z but the concepts in the thread should be similar. http://forums.hybridz.org/topic/112800-diy-budget-start-button/ Edited April 13, 2015 by seattlejester Quote Link to comment Share on other sites More sharing options...
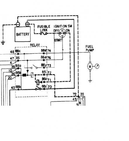
Dkyle Posted April 14, 2015 Author Share Posted April 14, 2015 yes, I have the UniSync; I'm much more confident with the carbs. I had the engine running about 2000 rpm and it was firing at about 30 deg BTDC. I'll have to look into that also, but now the dist is mounted all the way counterclockwise. Advanced as far as it goes. I would like to use the fuel delivery i have now; stock pump and the FPR. In the picture, the line to the right feeds the carbs at 4psi. The line to the left is where the pump is feeding in, & the center line returns the fuel to the tank. My problem now is that I have to manual switch 12 volts to the pump because i removed the EFI harness. I would like to use a relay & an appropriate signal to activate it. Here is a schematic of the existing EFI relay.. I would think (with utter lack of knowledge) that I could connect the pump to #74 & +12 volts to #73. Would then a signal on #72 & #76 activate the relay causing the pump to run? And where would that come from? It doesn't have to be from the ignition switch.. right? I should replace the ignition switch, replace my button setup i used as a workaround & get back to "normal". It will still leave me with having to manually turn the pump on before starting the engine. Quote Link to comment Share on other sites More sharing options...
seattlejester Posted April 16, 2015 Share Posted April 16, 2015 I would just plumb a new relay in place since you don't need the EFI relay to power the injectors or anything else. Follow the wiring diagram, you have 4 wires you need, a power, a ground, a signal, and an out for a new generic relay. The power comes from the battery (70), the ground either goes to chassis or back to battery (72), signal comes from the ignition switch (71), and your output goes to the power side of the fuel pump. You want your fuel pump connected to the ignition, so when you shut it off or when the car shuts off it kills the fuel. Why might that matter? Say if you get into an accident and the fuel line burst, if you have the fuel pump on a separate circuit, even though the engine has killed itself or stopped running, your fuel pump will continue to run and pour gasoline over everything. A real hazard. Regarding your fuel pump. That setup is not the worst you can do, but as I mentioned it is no where near ideal. You do have a bypass regulator which is good in that it doesn't hold the fuel hostage thus you won't blow fuses or heat up the power wire. Bad news is what I originally state though, your fuel pump will achieve the 4 PSI very easily, which means all the fuel will essentially be bypassed. That means the fuel pump will be running without resistance at almost full speed. This will kill the fuel pump. If you want to wait till it happens and have AAA then not a big deal. Quote Link to comment Share on other sites More sharing options...
Recommended Posts
Join the conversation
You can post now and register later. If you have an account, sign in now to post with your account.